Glass - Windshield for 2003 Lexus GS300
Vehicle
2003 Lexus GS300
Change Vehicle
Categories
- Bumper & Components - Front
- Bumper & Components - Rear
- Center Console
- Center Pillar & Rocker
- Cluster & Switches
- Cowl
- Door & Components
- Exterior Trim - Fender
- Exterior Trim - Front Door
- Exterior Trim - Pillars
- Exterior Trim - Quarter Panel
- Exterior Trim - Rear Door
- Exterior Trim - Roof
- Exterior Trim - Trunk
- Fender & Components
- Floor & Rails
- Front Door
- Front Seat Components
- Glass - Front Door
- Glass - Rear Door
- Glass - Windshield
- Glass & Hardware - Back
- Grille & Components
- Hinge Pillar
- Hood & Components
- Inner Structure
- Instrument Panel
- Instrument Panel Components
- Interior Trim - Front Door
- Interior Trim - Pillars
- Interior Trim - Quarter Panels
- Interior Trim - Rear Body
- Interior Trim - Rear Door
- Interior Trim - Roof
- Interior Trim - Trunk
- Labels
- Lid & Components
- Lock & Hardware
- Outside Mirrors
- Quarter Panel & Components
- Radiator Support
- Rear Body
- Rear Door
- Rear Floor & Rails
- Rear Seat Components
- Reveal Moldings
- Roof & Components
- Seat Belt
- Sound System
- Spoiler
- Structural Components & Rails
- Sunroof
- Tracks & Components
- Trunk
- Wiper & Washer Components
- ABS Components
- Air Bag Components
- Alternator
- Antenna & Radio
- Anti-Theft Components
- Anti-Theft System
- Battery
- Bulbs - Chassis
- Combination Lamps
- Door
- Electrical Components
- Flashers
- Fog Lamps
- Front Door
- Front Seat Belts
- Fuel Door
- Gauges
- Headlamp Components
- Headlamp Washers/Wipers
- Heated Seats
- High Mounted Stop Lamp
- Horn
- Ignition Lock
- Ignition System
- Instruments & Gauges
- Keyless Entry Components
- License Lamps
- Mirrors
- Navigation System Components
- Power Seats
- Powertrain Control
- Rear Door
- Rear Seat Belts
- Senders
- Side Marker & Signal Lamps
- Starter
- Sunroof
- Switches
- Tail Lamps
- Trunk
- Window Defroster
- Wipers
- Bumper & Components - Front
- Bumper & Components - Rear
- Center Console
- Center Pillar & Rocker
- Cluster & Switches
- Cowl
- Door & Components
- Exterior Trim - Fender
- Exterior Trim - Front Door
- Exterior Trim - Pillars
- Exterior Trim - Quarter Panel
- Exterior Trim - Rear Door
- Exterior Trim - Roof
- Exterior Trim - Trunk
- Fender & Components
- Floor & Rails
- Front Door
- Front Seat Components
- Glass - Front Door
- Glass - Rear Door
- Glass - Windshield
- Glass & Hardware - Back
- Grille & Components
- Hinge Pillar
- Hood & Components
- Inner Structure
- Instrument Panel
- Instrument Panel Components
- Interior Trim - Front Door
- Interior Trim - Pillars
- Interior Trim - Quarter Panels
- Interior Trim - Rear Body
- Interior Trim - Rear Door
- Interior Trim - Roof
- Interior Trim - Trunk
- Labels
- Lid & Components
- Lock & Hardware
- Outside Mirrors
- Quarter Panel & Components
- Radiator Support
- Rear Body
- Rear Door
- Rear Floor & Rails
- Rear Seat Components
- Reveal Moldings
- Roof & Components
- Seat Belt
- Sound System
- Spoiler
- Structural Components & Rails
- Sunroof
- Tracks & Components
- Trunk
- Wiper & Washer Components
- ABS Components
- Air Bag Components
- Alternator
- Antenna & Radio
- Anti-Theft Components
- Anti-Theft System
- Battery
- Bulbs - Chassis
- Combination Lamps
- Door
- Electrical Components
- Flashers
- Fog Lamps
- Front Door
- Front Seat Belts
- Fuel Door
- Gauges
- Headlamp Components
- Headlamp Washers/Wipers
- Heated Seats
- High Mounted Stop Lamp
- Horn
- Ignition Lock
- Ignition System
- Instruments & Gauges
- Keyless Entry Components
- License Lamps
- Mirrors
- Navigation System Components
- Power Seats
- Powertrain Control
- Rear Door
- Rear Seat Belts
- Senders
- Side Marker & Signal Lamps
- Starter
- Sunroof
- Switches
- Tail Lamps
- Trunk
- Window Defroster
- Wipers
Browse Categories
Select category
- Bumper & Components - Front
- Bumper & Components - Rear
- Center Console
- Center Pillar & Rocker
- Cluster & Switches
- Cowl
- Door & Components
- Exterior Trim - Fender
- Exterior Trim - Front Door
- Exterior Trim - Pillars
- Exterior Trim - Quarter Panel
- Exterior Trim - Rear Door
- Exterior Trim - Roof
- Exterior Trim - Trunk
- Fender & Components
- Floor & Rails
- Front Door
- Front Seat Components
- Glass - Front Door
- Glass - Rear Door
- Glass - Windshield
- Glass & Hardware - Back
- Grille & Components
- Hinge Pillar
- Hood & Components
- Inner Structure
- Instrument Panel
- Instrument Panel Components
- Interior Trim - Front Door
- Interior Trim - Pillars
- Interior Trim - Quarter Panels
- Interior Trim - Rear Body
- Interior Trim - Rear Door
- Interior Trim - Roof
- Interior Trim - Trunk
- Labels
- Lid & Components
- Lock & Hardware
- Outside Mirrors
- Quarter Panel & Components
- Radiator Support
- Rear Body
- Rear Door
- Rear Floor & Rails
- Rear Seat Components
- Reveal Moldings
- Roof & Components
- Seat Belt
- Sound System
- Spoiler
- Structural Components & Rails
- Sunroof
- Tracks & Components
- Trunk
- Wiper & Washer Components
- ABS Components
- Air Bag Components
- Alternator
- Antenna & Radio
- Anti-Theft Components
- Anti-Theft System
- Battery
- Bulbs - Chassis
- Combination Lamps
- Door
- Electrical Components
- Flashers
- Fog Lamps
- Front Door
- Front Seat Belts
- Fuel Door
- Gauges
- Headlamp Components
- Headlamp Washers/Wipers
- Heated Seats
- High Mounted Stop Lamp
- Horn
- Ignition Lock
- Ignition System
- Instruments & Gauges
- Keyless Entry Components
- License Lamps
- Mirrors
- Navigation System Components
- Power Seats
- Powertrain Control
- Rear Door
- Rear Seat Belts
- Senders
- Side Marker & Signal Lamps
- Starter
- Sunroof
- Switches
- Tail Lamps
- Trunk
- Window Defroster
- Wipers
- Bumper & Components - Front
- Bumper & Components - Rear
- Center Console
- Center Pillar & Rocker
- Cluster & Switches
- Cowl
- Door & Components
- Exterior Trim - Fender
- Exterior Trim - Front Door
- Exterior Trim - Pillars
- Exterior Trim - Quarter Panel
- Exterior Trim - Rear Door
- Exterior Trim - Roof
- Exterior Trim - Trunk
- Fender & Components
- Floor & Rails
- Front Door
- Front Seat Components
- Glass - Front Door
- Glass - Rear Door
- Glass - Windshield
- Glass & Hardware - Back
- Grille & Components
- Hinge Pillar
- Hood & Components
- Inner Structure
- Instrument Panel
- Instrument Panel Components
- Interior Trim - Front Door
- Interior Trim - Pillars
- Interior Trim - Quarter Panels
- Interior Trim - Rear Body
- Interior Trim - Rear Door
- Interior Trim - Roof
- Interior Trim - Trunk
- Labels
- Lid & Components
- Lock & Hardware
- Outside Mirrors
- Quarter Panel & Components
- Radiator Support
- Rear Body
- Rear Door
- Rear Floor & Rails
- Rear Seat Components
- Reveal Moldings
- Roof & Components
- Seat Belt
- Sound System
- Spoiler
- Structural Components & Rails
- Sunroof
- Tracks & Components
- Trunk
- Wiper & Washer Components
- ABS Components
- Air Bag Components
- Alternator
- Antenna & Radio
- Anti-Theft Components
- Anti-Theft System
- Battery
- Bulbs - Chassis
- Combination Lamps
- Door
- Electrical Components
- Flashers
- Fog Lamps
- Front Door
- Front Seat Belts
- Fuel Door
- Gauges
- Headlamp Components
- Headlamp Washers/Wipers
- Heated Seats
- High Mounted Stop Lamp
- Horn
- Ignition Lock
- Ignition System
- Instruments & Gauges
- Keyless Entry Components
- License Lamps
- Mirrors
- Navigation System Components
- Power Seats
- Powertrain Control
- Rear Door
- Rear Seat Belts
- Senders
- Side Marker & Signal Lamps
- Starter
- Sunroof
- Switches
- Tail Lamps
- Trunk
- Window Defroster
- Wipers
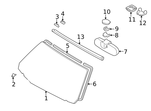
No.
Part # / Description / Price
Price
2
MSRP $9.63
$8.05
3
Windshield Stopper
Lexus
Lexus Positions: Left
Description: Canada built, #2. Outer. #1. Upper, type 2. Type b. Flat.
MSRP $3.81
$3.30
MSRP $3.81
$3.30
7
MSRP $1,248.17
$872.33
7
MSRP $1,248.17
$872.33
12
MSRP $11.79
$9.86