Roof & Components for 2001 Lexus IS300
Vehicle
2001 Lexus IS300
Change Vehicle
- Bumper & Components - Front
- Bumper & Components - Rear
- Center Console
- Center Pillar & Rocker
- Cluster & Switches
- Cowl
- Door & Components
- Ducts
- Exterior Trim - Fender
- Exterior Trim - Front Door
- Exterior Trim - Rear Door
- Exterior Trim - Roof
- Exterior Trim - Trunk
- Fender & Components
- Floor & Rails
- Front Door
- Front Seat Components
- Fuel Door
- Glass - Front Door
- Glass - Rear Door
- Glass - Windshield
- Glass & Hardware - Back
- Glove Box
- Grille & Components
- Hinge Pillar
- Hood & Components
- Inner Structure
- Instrument Panel
- Interior Trim - Front Door
- Interior Trim - Pillars
- Interior Trim - Quarter Panels
- Interior Trim - Rear Body
- Interior Trim - Rear Door
- Interior Trim - Roof
- Interior Trim - Trunk
- Labels
- Lid & Components
- Lock & Hardware
- Master Cylinder - Components On Dash Panel
- Outside Mirrors
- Quarter Panel & Components
- Radiator Support
- Rear Body
- Rear Door
- Rear Floor & Rails
- Rear Seat Components
- Reveal Moldings
- Roof & Components
- Seat Belt
- Sound System
- Spoiler
- Structural Components & Rails
- Sunroof
- Tracks & Components
- Trunk
- Wiper & Washer Components
- ABS Components
- Air Bag Components
- Alternator
- Antenna & Radio
- Anti-Theft Components
- Battery
- Bulbs - Chassis
- Combination Lamps
- Door
- Electrical Components
- Flashers
- Fog Lamps
- Front Door
- Front Seat Belts
- Headlamp Components
- Headlamp Washers/Wipers
- Heated Seats
- High Mounted Stop Lamp
- Horn
- Ignition Lock
- Ignition System
- Instruments & Gauges
- Keyless Entry Components
- License Lamps
- Mirrors
- Power Seats
- Powertrain Control
- Rear Door
- Rear Seat Belts
- Senders
- Side Marker & Signal Lamps
- Side Marker Lamps
- Starter
- Sunroof
- Switches
- Tail Lamps
- Window Defroster
- Wipers
- Bumper & Components - Front
- Bumper & Components - Rear
- Center Console
- Center Pillar & Rocker
- Cluster & Switches
- Cowl
- Door & Components
- Ducts
- Exterior Trim - Fender
- Exterior Trim - Front Door
- Exterior Trim - Rear Door
- Exterior Trim - Roof
- Exterior Trim - Trunk
- Fender & Components
- Floor & Rails
- Front Door
- Front Seat Components
- Fuel Door
- Glass - Front Door
- Glass - Rear Door
- Glass - Windshield
- Glass & Hardware - Back
- Glove Box
- Grille & Components
- Hinge Pillar
- Hood & Components
- Inner Structure
- Instrument Panel
- Interior Trim - Front Door
- Interior Trim - Pillars
- Interior Trim - Quarter Panels
- Interior Trim - Rear Body
- Interior Trim - Rear Door
- Interior Trim - Roof
- Interior Trim - Trunk
- Labels
- Lid & Components
- Lock & Hardware
- Master Cylinder - Components On Dash Panel
- Outside Mirrors
- Quarter Panel & Components
- Radiator Support
- Rear Body
- Rear Door
- Rear Floor & Rails
- Rear Seat Components
- Reveal Moldings
- Roof & Components
- Seat Belt
- Sound System
- Spoiler
- Structural Components & Rails
- Sunroof
- Tracks & Components
- Trunk
- Wiper & Washer Components
- ABS Components
- Air Bag Components
- Alternator
- Antenna & Radio
- Anti-Theft Components
- Battery
- Bulbs - Chassis
- Combination Lamps
- Door
- Electrical Components
- Flashers
- Fog Lamps
- Front Door
- Front Seat Belts
- Headlamp Components
- Headlamp Washers/Wipers
- Heated Seats
- High Mounted Stop Lamp
- Horn
- Ignition Lock
- Ignition System
- Instruments & Gauges
- Keyless Entry Components
- License Lamps
- Mirrors
- Power Seats
- Powertrain Control
- Rear Door
- Rear Seat Belts
- Senders
- Side Marker & Signal Lamps
- Side Marker Lamps
- Starter
- Sunroof
- Switches
- Tail Lamps
- Window Defroster
- Wipers
Browse Categories
Select category
- Bumper & Components - Front
- Bumper & Components - Rear
- Center Console
- Center Pillar & Rocker
- Cluster & Switches
- Cowl
- Door & Components
- Ducts
- Exterior Trim - Fender
- Exterior Trim - Front Door
- Exterior Trim - Rear Door
- Exterior Trim - Roof
- Exterior Trim - Trunk
- Fender & Components
- Floor & Rails
- Front Door
- Front Seat Components
- Fuel Door
- Glass - Front Door
- Glass - Rear Door
- Glass - Windshield
- Glass & Hardware - Back
- Glove Box
- Grille & Components
- Hinge Pillar
- Hood & Components
- Inner Structure
- Instrument Panel
- Interior Trim - Front Door
- Interior Trim - Pillars
- Interior Trim - Quarter Panels
- Interior Trim - Rear Body
- Interior Trim - Rear Door
- Interior Trim - Roof
- Interior Trim - Trunk
- Labels
- Lid & Components
- Lock & Hardware
- Master Cylinder - Components On Dash Panel
- Outside Mirrors
- Quarter Panel & Components
- Radiator Support
- Rear Body
- Rear Door
- Rear Floor & Rails
- Rear Seat Components
- Reveal Moldings
- Roof & Components
- Seat Belt
- Sound System
- Spoiler
- Structural Components & Rails
- Sunroof
- Tracks & Components
- Trunk
- Wiper & Washer Components
- ABS Components
- Air Bag Components
- Alternator
- Antenna & Radio
- Anti-Theft Components
- Battery
- Bulbs - Chassis
- Combination Lamps
- Door
- Electrical Components
- Flashers
- Fog Lamps
- Front Door
- Front Seat Belts
- Headlamp Components
- Headlamp Washers/Wipers
- Heated Seats
- High Mounted Stop Lamp
- Horn
- Ignition Lock
- Ignition System
- Instruments & Gauges
- Keyless Entry Components
- License Lamps
- Mirrors
- Power Seats
- Powertrain Control
- Rear Door
- Rear Seat Belts
- Senders
- Side Marker & Signal Lamps
- Side Marker Lamps
- Starter
- Sunroof
- Switches
- Tail Lamps
- Window Defroster
- Wipers
- Bumper & Components - Front
- Bumper & Components - Rear
- Center Console
- Center Pillar & Rocker
- Cluster & Switches
- Cowl
- Door & Components
- Ducts
- Exterior Trim - Fender
- Exterior Trim - Front Door
- Exterior Trim - Rear Door
- Exterior Trim - Roof
- Exterior Trim - Trunk
- Fender & Components
- Floor & Rails
- Front Door
- Front Seat Components
- Fuel Door
- Glass - Front Door
- Glass - Rear Door
- Glass - Windshield
- Glass & Hardware - Back
- Glove Box
- Grille & Components
- Hinge Pillar
- Hood & Components
- Inner Structure
- Instrument Panel
- Interior Trim - Front Door
- Interior Trim - Pillars
- Interior Trim - Quarter Panels
- Interior Trim - Rear Body
- Interior Trim - Rear Door
- Interior Trim - Roof
- Interior Trim - Trunk
- Labels
- Lid & Components
- Lock & Hardware
- Master Cylinder - Components On Dash Panel
- Outside Mirrors
- Quarter Panel & Components
- Radiator Support
- Rear Body
- Rear Door
- Rear Floor & Rails
- Rear Seat Components
- Reveal Moldings
- Roof & Components
- Seat Belt
- Sound System
- Spoiler
- Structural Components & Rails
- Sunroof
- Tracks & Components
- Trunk
- Wiper & Washer Components
- ABS Components
- Air Bag Components
- Alternator
- Antenna & Radio
- Anti-Theft Components
- Battery
- Bulbs - Chassis
- Combination Lamps
- Door
- Electrical Components
- Flashers
- Fog Lamps
- Front Door
- Front Seat Belts
- Headlamp Components
- Headlamp Washers/Wipers
- Heated Seats
- High Mounted Stop Lamp
- Horn
- Ignition Lock
- Ignition System
- Instruments & Gauges
- Keyless Entry Components
- License Lamps
- Mirrors
- Power Seats
- Powertrain Control
- Rear Door
- Rear Seat Belts
- Senders
- Side Marker & Signal Lamps
- Side Marker Lamps
- Starter
- Sunroof
- Switches
- Tail Lamps
- Window Defroster
- Wipers
No.
Part # / Description / Price
Price
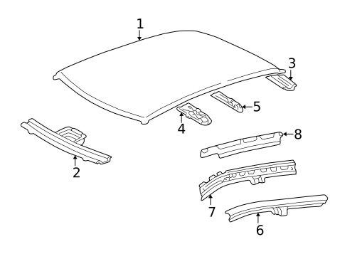
2
Roof Panel Side Support
Lexus
Lexus Positions: Right
Description: Sedan, with sunroof. Wagon, with sunroof.
3
MSRP $138.20
$100.61
6
7
MSRP $229.47
$162.10
7
8
Roof Rail Reinforcement
Lexus
Lexus Positions: Left
Description: Sedan, with sunroof. Wagon, without sunroof.
8
Roof Rail Reinforcement
Lexus
Lexus Positions: Right
Description: Sedan, without sunroof. Wagon, without sunroof.
MSRP $165.40
$120.42
MSRP $165.40
$120.42
No.
Part # / Description / Price
Price
2
4
5
6
7
7
